HOME > PRODUCT
Product introduction
- IP210S
- Serial to Ethernet Controller
General Description :
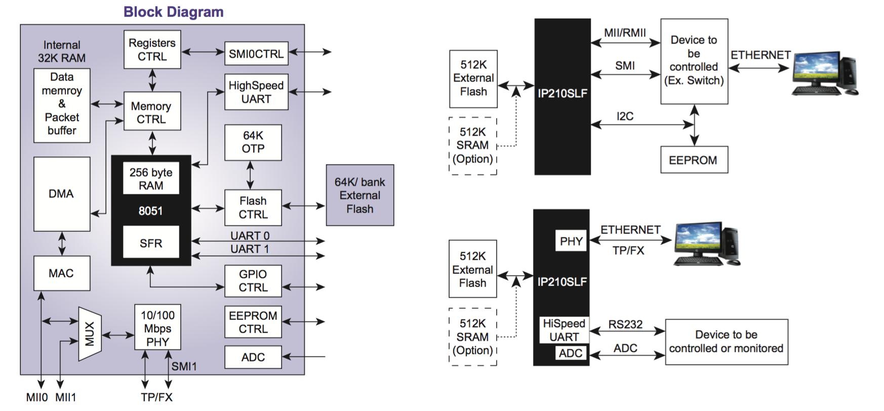
The IP210S is a very cost effective and highly integrated SoC(System-on-Chip).The embedded Ethernet transceiver, 64k bytes OTP, 32K bytes SRAM, 8-channel 8-bit ADC, 10/100Mbps Ethernet MAC/PHY, offload engine and 8051 support IP210S can be applied for variety applications such as Serial-to-Ethernet convertor, network sensor, remote control/monitoring, automatic test equipment and consumer electronics. The IP210S can support program running with embedded 64KB OTP ROM or external Flash memory for more flexible application. Since device drivers, network protocol stack and Ethernet offload engine are embedded inside the SoC, this design provides a neat and cost-effective solution. In addition to TP cable connection, the IP210S also provides the fiber cable connection to meet the requirement of long distance communication.
Feature :
Embeds a 8051
Includes 32KB SSRAM and 64KB OTP ROM
Includes a 10/100 Ethernet MAC, Etherent PHY
Includes a 4-channel DMA
Includes a 8-bits 8-channel ADC(0V~2.5V)
Supports CPU boot from bank0 0x0000 or 0xFFFD
Includes external Flash I/F to extend code size by using external program memory ( Support 512KB and 2MB)
Includes one MII/reverse MII or RMII
Support two MII (MII0: MAC mode & PHY mode, MII1: PHY mode)
Includes one SMI(MDC/MDIO)
Provides I 2C for EEPROM access
Includes 3 timers
- two 8-bit hardware auto load timers
- one 16-bit hardware auto load timer
Includes 2 hardware WatchDog timer
Includes a high speed (up to 921Kbps) UART (with MODEM control signals) and two simplified UART(Tx, Rx only)
Supports fiber cable connection
0.25um CMOS technology
2.5V core and 3.3V IO power
128-pin PQFN package
The IP210S is a very cost effective and highly integrated SoC(System-on-Chip).The embedded Ethernet transceiver, 64k bytes OTP, 32K bytes SRAM, 8-channel 8-bit ADC, 10/100Mbps Ethernet MAC/PHY, offload engine and 8051 support IP210S can be applied for variety applications such as Serial-to-Ethernet convertor, network sensor, remote control/monitoring, automatic test equipment and consumer electronics. The IP210S can support program running with embedded 64KB OTP ROM or external Flash memory for more flexible application. Since device drivers, network protocol stack and Ethernet offload engine are embedded inside the SoC, this design provides a neat and cost-effective solution. In addition to TP cable connection, the IP210S also provides the fiber cable connection to meet the requirement of long distance communication.
Feature :
Embeds a 8051
Includes 32KB SSRAM and 64KB OTP ROM
Includes a 10/100 Ethernet MAC, Etherent PHY
Includes a 4-channel DMA
Includes a 8-bits 8-channel ADC(0V~2.5V)
Supports CPU boot from bank0 0x0000 or 0xFFFD
Includes external Flash I/F to extend code size by using external program memory ( Support 512KB and 2MB)
Includes one MII/reverse MII or RMII
Support two MII (MII0: MAC mode & PHY mode, MII1: PHY mode)
Includes one SMI(MDC/MDIO)
Provides I 2C for EEPROM access
Includes 3 timers
- two 8-bit hardware auto load timers
- one 16-bit hardware auto load timer
Includes 2 hardware WatchDog timer
Includes a high speed (up to 921Kbps) UART (with MODEM control signals) and two simplified UART(Tx, Rx only)
Supports fiber cable connection
0.25um CMOS technology
2.5V core and 3.3V IO power
128-pin PQFN package
Technical reference
Data download
Warning: Invalid argument supplied for foreach() in /www/wwwroot/cybertop.com.cn/en/product_detail.php on line 93





