产品简介
- IP1810
- 8-port 10/100M + 2-port 10/100/1000Mb Ethernet Switch
General Description :
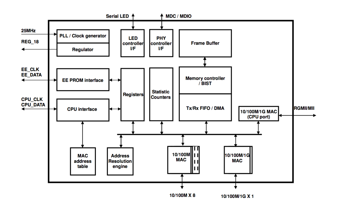
IP1810 is a non-blocking, store-and-forward architecture switch controller, which builds 8-port 10/100Mbps Fast Ethernet MAC and PHY, 1-port GMAC with RGMII interface and 1-port with RGMII/MII for external CPU in a single chip.
IP1810 embeds a 4Mb SRAM for the use of packet buffer. It also provides various 2-wire interfaces, such as CPU interface, SMI, and EEPROM interface, which allow the user to access the internal register, external PHY’s registers and EEPROM data. The serial LED can show the status of each port (such as Link, Speed, Activity and so on) by using 74HC164 or IP403 external device through 2-wire (LEDCLK, LEDDAT) signals driving from IP1810.
There are 16K entries in Lookup table. Hashing method can be selected either direct or CRC hashing for MAC address learning. Lookup Table aging time can be adjustable ranging from 55 seconds to 500 hours. IP1810 also provides the MAC learning threshold to limit the number of addresses learning.
IP1810 has 4k entries for 802.1Q VLAN, which provides more security for VLAN member, and supports Independent VLAN Learning (IVL) and Share VLAN Learning (SVL). Further, IP1810 also has add/remove C-tag, S-tag, VLAN remarking, uplink link port and inactive VID redirect functions for the flexible VLAN application.
IP1810 has 128 entries for ACL table. The ACL (Address Control List) function provides advanced and flexible control mechanism to decide what packet should do (action) if packet matches ACL rule.
IP1810 supports the web based management interface, such as Microsoft Internet Explorer or Mozilla Firefox, Google chrome, user can more easily configure IP1810’s functions by these browsers, and no extra program is needed. Besides, IP1810 also provides IRMP(IC+ remote management protocol) to let the users remotely configure the registers of IP1810.
The IP1818 can partition the network traffic by programming the VLAN table. Furthermore the IP1818 supports both non-VID related tag based VLAN and VID related tag based VLAN. The access control based on the MAC layer, the IP layer and TCP/UDP layer provides a method for the user to implement the Class of Service and the network security.
An MCU based web controller to work with IP1818 can easily support the web management. Users can remotely configure and monitor IP1818 smart switches through browsers, such as Microsoft Internet Explorer or Chrome and no program installation is required for the smart switch management.
Feature :
-
8-Port 10/100Mb + 2-Port 10/100/1000Mb Ethernet Switch
- Built-in 8 10/100Mb PHYs
- RGMII interface for 1 10/100/1000Mb PHYs
- RGMII /MII interface for external CPU
- Support IEEE802.3az
- Support 10/100Mb full/half duplex
- Support 1000Mb full duplex
- 100Mb TP and Fiber dual mode, selected by Signal Detection (SD) level
-
Store & Forward, Share Memory Non-blocking Architecture
- Built-in 4Mb SRAM for packet buffer
- Support 16K Jumbo packet
- Max. length 1664B without supporting jumbo packet
-
Flow Control
- 802.3x compliant flow control in full duplex
- Collision/Carrier_ sense based backpressure in half duplex
-
Internal 16K MAC Address Entities
- CRC/Direct hashing algorithm
- Aging timer programmable (55s~500hrs)
- Wire speed address learning and resolution
- CPU accessible for security and static MAC
- Learning enable/disable
-
IGMP/MLD Snooping
- IGMP Version 1, 2, 3 / MLD Version 1, 2
- MLD snooping. ( 4 sets IP address per MLD list )
- Snooping by Switch ASIC or CPU
-
Two Trunk Group
- Two trunk groups, trunk A~B up to 4 ports
- Load balance based on (Port ID, DA, SA, DA/SA, IP, TCP/UTP)
- Link fault recovery
-
Per Port 41 MIB Counters/port
- RMON/ Ethernet/ MIB II
-
Auto loop detection
-
VLAN
- 10 Port based
- 4K Tag based
- Support Tag remove/add/modify IVL/SVL learning mode
- Support Protocol VLAN
- Support Q-in-Q (double tag)
- 64 configurable VID for Q-in-Q tag stacking
-
Class Of Service (CoS)
-
Support FIFS/SP/WRR/SP+WRR/WFQ/
-
TWRR in Output Queue Schedule Modes
-
Port based priority
- 802.1Q priority tag based
- IP TOS based (IPv4/IPv6)
- TCP/UDP port number based
- Source MAC address based
-
ACL based
-
Privilege priority
-
8 levels per port
-
Priority queuing decision
- DSCP/ TAG priority remarking
- 802.1Qad PCP, DEN insert / modify
-
802.1Q PCP, CFI insert/ modify
-
RX &TX Priority re-mapping
-
LLQ + latency
-
Broadcast/multicast/DLF/ARP/ICMP Storm Control
- 256 levels resolution for all storm control
- S torm control can be enabled for per port
- With option to drop all ARP to CPU
- Unit time can be selected for all storm control
-
Sniffer Function
- Ingress、egress、ingress/egress methods
- Two Sniffer destination port group configurations
- Add/ Remove Tag option for packet routing to mirroring ports
- ACL and special tag for sniffer application
-
Port Security
- MAC based
- TCP/UDP port based
- SIP based
- 802.1x :Port based & MAC based
-
Bandwidth Control
- From 64K bps to wire speed (resolution 64k)
- Support Flow control on/off
- Queue based bandwidth control
-
(resolution 64k/1M/2M/4M)
-
SMI Interface Auto-Polling
- Speed, Duplex, Flow control, Link
- CPU accessible and interrupt
- CPU R/W PHY register
- Support MMD access
-
Out Queue
- Frame buffer/ queue/ port based aging
- Bandwidth assured/ limited
- Latency assured
- WRED(Weight Random Early Drop)
- Support LLQ (Low latency queue)
- Dorm mode (WAN/LAN dual schedule mode)
-
Spanning Tree Protocol Port State
- Support Discard/Block/Learning/Forwarding four states
- Forwarding STP frame to CPU port
- Support RSTP/MSTP
-
Access Control List
- 128 ACL Entities
- Ingress port
- VLAN
- Destination/Source MAC address
- Destination/Source IP (specific or range)
- TCP/UDP Destination/Source port number (specific or range)
- IP protocol, DSCP, TCP flag
- Action : forward, to CPU, drop, priority, Q-in-Q tag, remarking, redirect, bandwidth limited
-
Configuration
- Pin initial setting
- 2-wire serial interface for accessing EEPROM
- Advanced EEPROM program mode
- 2-wire serial interface for low cost smart system application
-
Programmable serial LED Display Function
- 8 modes/ flashing speed selectable
- Power on cable diagnosis indication
- Loop indication
-
Auto Test Function For Mass-production
- Auto generate test frames
- Show the result on LED output
-
Interrupt Pin For PHY Mode/Link/SMI R/W
- Complete notification
-
Special TAG
-
OAM (IEEE 802.3 ah)
- Auto discovery
- Fault indication
- Remote LoopBack test
-
IEEE1588 stamp
-
16 time stamps for In/Egress per port
-
8 time stamps for input event trigger
-
Support Event trigger stamp
- Support Pulse Per Second (PPS) output
- Support PTP trigger out
-
IC+ Remote Management Protocol (IRMP)
-
EoC cable failure auto detection and isolation hardware
-
L3/L2 Protocol forwarding to CPU or broadcast or drop
- LACP,LLDP,IGMP,MLD,ICMP,BPDU,802.1x, GARP
-
IPv6 function
- TCP/UDP port number and FLAG
- Finding out next header is based on ICMPv6, authentication, encapsulation, fragment or user-defined header
-
Adjustable IO voltage for RGMII
-
128 LQFP , 129 E-Pad Ground
技术参考






Sino-Sage联矽智能